产品中心
Products
■ A41L-2.5P 呼吸阀 | |||||
| |||||
主要技术参数: | |||||
公称通径: | 100、150、200、250mm | ||||
公称压力: | 0.25MPa | ||||
开启压力: | 80-160mmH20(0.8-1.6KPa) | ||||
真空开启压力: | -28mmH20(-280Pa) | ||||
密封压力: | 70-140MPaH20(-0.7-1.4KPa) | ||||
适用介质: | LNG、LO2、LN2、LCO2等 | ||||
适用温度: | -50℃~+65℃ | ||||
注意事项: | 忌油 | ||||
主要零件材料: | |||||
阀体: | 不锈钢 | ||||
阀盖: | |||||
阀顶: | 铝合金 | ||||
膜片: | |||||
连接法兰: | 不锈钢(JB/T81-94) | ||||
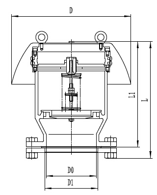
主要外形和连接尺寸(mm)
尺寸 产品代号 | L | L1 | D | D0 | D1 | 呼气压力(Pa) | ||
FXA | FXB | FXC | ||||||
FX100 | 346 | 330 | 320 | 100 | 110 | 800 | 1200 | 1600 |
FX150 | 346 | 330 | 376 | 150 | 161 | |||
FX200 | 423 | 381 | 400 | 200 | 222 | |||
FX250 | 423 | 381 | 450 | 250 | 276 | |||