产品中心
Products
■ J61F-40P 截止阀 | ||||||
| ||||||
主要技术参数: | ||||||
公称通径: | 10、15、20、25、32、40mm | |||||
公称压力: | 4.0MPa | |||||
适用介质: | O2、N2、Ar、LCO2等 | |||||
适用温度: | -50℃~+80℃ | |||||
连接形式: | 焊接 | |||||
主要零件材料: | ||||||
阀体: | 不锈钢 | |||||
阀盖: | 不锈钢 | |||||
阀顶: | 不锈钢 | |||||
阀杆: | 不锈钢 | |||||
密封圈: | PTFE | |||||
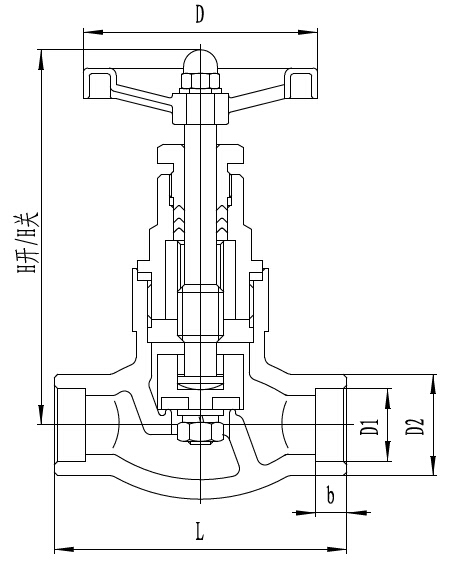
主要外形和连接尺寸(mm)
尺寸 产品代号 | DN | H开 | H关 | L | D | D1 | D2 | b |
181F10 | 10 | 105 | 95 | 65 | 65 | 14.5 | 22 | 8 |
181F15 | 15 | 105 | 95 | 65 | 65 | 18.5 | 28 | 8 |
181F20 | 20 | 120 | 110 | 80 | 100 | 25.5 | 32 | 8 |
181F25 | 25 | 120 | 110 | 80 | 100 | 28.5 | 36 | 8 |
181F32 | 32 | 152 | 138 | 100 | 120 | 38.5 | 45 | 8 |
181F40 | 40 | 152 | 138 | 100 | 120 | 45.5 | 52 | 8 |